走進耐得
新聞資訊
產品實物展示
PRODUCT PHYSICAL DISPLAY
PRODUCT CENTER
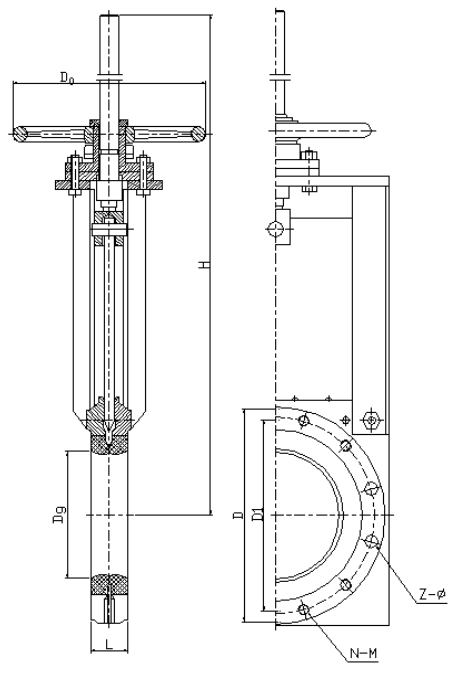
法蘭式無隙閘閥結構示意圖
法蘭式無隙閘閥外形尺寸
對夾式無隙閘閥結構示意圖
對夾式無隙閘閥外形尺寸
相關閥門推薦:襯膠閘板閥